ΕΞΑΕΡΙΣΜΟΣ & ΕΠΙΤΗΡΗΣΗ ΡΟΗΣ ΑΕΡΑ

Πόσο σίγουροι είστε για την αποτελεσματικότητα του εξαερισμού σας;

Τα συστήματα εξαερισμού των πλοίων τροφοδοτούν και αφαιρούν αέρα προς και από χώρους σε όλο το πλοίο. Με αυτόν τον τρόπο, τα συστήματα αυτά ελέγχουν την ποιότητα του αναπνευστικού αέρα και προστατεύουν το προσωπικό και τον ευαίσθητο εξοπλισμό από δυνητικά επικίνδυνους ατμοσφαιρικούς ρύπους, πυρκαγιές, εκρήξεις και υπερβολική ζέστη. Για αυτές τις αιτίες η επιτήρηση ροής αέρα είναι σημαντική και κρίσιμη, όπως κρίσιμο και σημαντικό είναι η αξιοπιστία και ποιότητα του αισθητήρα ροής αέρα για αυτό το σκοπό.

Μερικές σημαντικές εφαρμογές της παρακολούθησης εξαερισμού ροής αέρα σε πλοία περιλαμβάνουν:

Εξαερισμός μηχανοστασίου: Τα μηχανοστάσια σε πλοία και σκάφη απαιτούν κατάλληλο αερισμό για την απομάκρυνση της θερμότητας που παράγεται από κινητήρες και μηχανήματα. Η παρακολούθηση της ροής αέρα στα μηχανοστάσια διασφαλίζει ότι τα συστήματα εξαερισμού λειτουργούν αποτελεσματικά, αποτρέποντας τη συσσώρευση υπερβολικής θερμότητας, διατηρώντας την απόδοση του εξοπλισμού και ελαχιστοποιώντας τον κίνδυνο πυρκαγιάς ή βλάβης του κινητήρα λόγω υπερθέρμανσης.

Χώροι Διαμονής: Ο σωστός αερισμός είναι απαραίτητος στους χώρους διαβίωσης των πλοίων για τη διατήρηση ενός άνετου και υγιούς περιβάλλοντος για τα μέλη του πληρώματος. Η παρακολούθηση της ροής του αέρα στους χώρους διαμονής συμβάλλει στη διασφάλιση της επαρκούς ανταλλαγής αέρα, στην απομάκρυνση των οσμών, στην πρόληψη της συμπύκνωσης και της ανάπτυξης μούχλας και στη ρύθμιση των επιπέδων θερμοκρασίας και υγρασίας.

Χώροι αποθήκευσης και αποθήκευσης φορτίου: Η παρακολούθηση της ροής αέρα εξαερισμού στα αμπάρια φορτίου και στους χώρους αποθήκευσης στα πλοία είναι ζωτικής σημασίας για την πρόληψη της συσσώρευσης υγρασίας, μούχλας και δυσάρεστων οσμών. Η σωστή ροή αέρα βοηθά στη διατήρηση της ακεραιότητας του φορτίου, στη μείωση του κινδύνου αλλοίωσης ή ζημιάς και στη δημιουργία ασφαλών και κατάλληλων συνθηκών για τα αποθηκευμένα εμπορεύματα.

Χώροι υδροσυλλεκτών και έρματος: Η παρακολούθηση της ροής αέρα στους χώρους υδροσυλλεκτών και έρματος βοηθά στην πρόληψη της συσσώρευσης στάσιμου αέρα, υγρασίας και δυσάρεστων οσμών. Ο επαρκής αερισμός σε αυτούς τους χώρους είναι απαραίτητος για την ελαχιστοποίηση του κινδύνου διάβρωσης, ανάπτυξης μούχλας και παρουσίας επιβλαβών αερίων ή ατμών.

Ασφάλεια και καταστάσεις έκτακτης ανάγκης: Ο σωστός αερισμός διαδραματίζει κρίσιμο ρόλο στη θαλάσσια ασφάλεια, ειδικά σε καταστάσεις έκτακτης ανάγκης όπως πυρκαγιές, διαρροές ή διαρροές επικίνδυνων υλικών. Η παρακολούθηση της ροής του αέρα βοηθά στη διασφάλιση ότι τα συστήματα εξαερισμού μπορούν να απομακρύνουν αποτελεσματικά καπνό, αναθυμιάσεις ή τοξικά αέρια από τις πληγείσες περιοχές, βελτιώνοντας τις πιθανότητες ασφαλούς εκκένωσης και διευκολύνοντας τις επιχειρήσεις πυρόσβεσης και διάσωσης.

Περιβαλλοντική συμμόρφωση: Η παρακολούθηση της ροής αέρα εξαερισμού στα θαλάσσια σκάφη είναι σημαντική για τη συμμόρφωση με τους περιβαλλοντικούς κανονισμούς. Τα συστήματα εξαερισμού που λειτουργούν σωστά συμβάλλουν στην ελαχιστοποίηση της έκλυσης ρύπων, καυσαερίων ή επιβλαβών εκπομπών στο περιβάλλον, συμβάλλοντας σε βιώσιμες και υπεύθυνες θαλάσσιες λειτουργίες.

Ενεργειακή απόδοση: Η παρακολούθηση του αερισμού της ροής του αέρα σε θαλάσσια περιβάλλοντα συμβάλλει στην ενεργειακή απόδοση. Η βελτιστοποίηση των ρυθμών ροής αέρα, η εξισορρόπηση των συστημάτων εξαερισμού και ο εντοπισμός περιοχών με υπερβολική κατανάλωση ενέργειας μπορούν να συμβάλουν στη μείωση της κατανάλωσης καυσίμου, στο χαμηλότερο λειτουργικό κόστος και στην ελαχιστοποίηση των περιβαλλοντικών επιπτώσεων.

Συνοπτικά, η παρακολούθηση του εξαερισμού της ροής του αέρα στα πλοία διασφαλίζει την ασφάλεια και την ευημερία των μελών του πληρώματος, προστατεύει το φορτίο, προάγει την περιβαλλοντική συμμόρφωση και συμβάλλει στην ενεργειακή απόδοση σε διάφορους χώρους ενός θαλάσσιου σκάφους.

Αυτόνομοι, φιλικοί προς το χρήστη, εύκολοι στη συντήρηση αισθητήρες επιτήρησης ροής αέρα

Μοντέλα 0101, 5101, 5201

Ο συμπαγής αισθητήρας ροής αέρα είναι ειδικά σχεδιασμένος για την επιτήρηση της ροής αέρα και προστασία από την απώλεια ροής αέρα όπου είναι απαραίτητο να αναγνωρίζεται η απώλεια ή η μείωση της ροής του αέρα παρέχoντας έγκαιρες προειδοποιήσεις..
Χάρις στο συμπαγές και βολικό σχεδιασμό του εξωτερικού περιβλήματος του, μπορεί εύκολα να τοποθετηθεί μέσα σε συστήματα εξαερισμού και με ενα ειδικό ρυθμιζόμενο ποτενσιόμετρο να ρυθμισθούν τα επιθυμητά όρια ροής. Ενα ειδικό LED προσφέρει οπτική ένδειξη όταν η ροή είναι πάνω ή κάτω απο το επιθυμητό όριο.
Ο συγκεκριμένος αισθητήρας ροής αέρα είναι βασισμένος πάνω στη θερμιδομετρική αρχή και αποτελεί εναν οικονομικό εναλλακτικό τρόπο για τα συστήματα μηχανικού τύπου με κινούμενα πτερύγια και για τις κυψέλες πίεσης.

Όλα τα εξαρτήματα του αισθητήρα ροής αέρα είναι ενσωματωμένα σε ένα συμπαγές και λείο πλαστικό κυλινδρικό περίβλημα. Ο αισθητήρας ροής αέρα έχει ενα ενσωματωμένο χρονικό το οποίο λειτουργεί σαν διακόπτης καθυστέρησης για τον ανεμιστήρα ή για τη συσκευή εξαερισμού. Στο διάστημα αυτό η έξοδος είναι κλειστή, το ρελέ ενεργοποιείται και αυτό απεικονίζεται ταυτοχρόνως απο το κόκκινο και πράσινο LED.

Το όριο ενεργοποίησης μπορεί να οριστεί μέσω του ποτενσιομέτρου και μπορεί να εμφανιστεί με το κόκκινο ή πράσινο LED. Στην περίπτωση της μηδενικής ροής το κόκκινο LED ανάβει.Εαν το πράσινο LED δεν ανάβει, το ρελέ εξόδου απενεργοποιείται. Όταν ο επιτηρητής ροής αέρα ανιχνεύσει ροή, το κόκκινο LED σβήνει, το πράσινο ανάβει και το ρελέ εξόδου ενεργοποιείται.Το σήμα εξόδου είναι διαθέσιμο σαν μια μεταβλητή ΝΟ (κανονικά ανοικτή) επαφή.

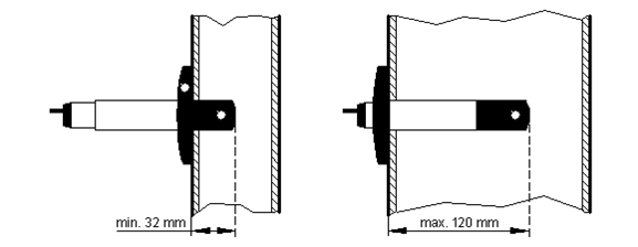
Το μήκος του επιτηρητή ροής επιτρέπει τη μέγιστη εμβάπτιση της τάξης των 120 mm μέσα στον αεραγωγό. Είναι εγκατεστημένο με τη βοήθεια ενος κολλάρου τοποθέτησης το οποίο είναι ασφαλισμένο στον αγωγό με τη βοήθεια ενος δαχτυλιδιού.

Ο επιτηρητής ροής αέρα μπορεί να χρησιμοποιηθεί στην επιτήρηση ροής σε μεγάλες μονάδες, καθώς κατα τη σχεδίαση του δόθηκε ιδιαίτερη προσοχή στην προστασία των PTC (ηλεκτρονικά θερμίστορ) ενάντι της μηχανικής ζημιάς απο στερεά σωματίδια που πιθανόν να βρίσκονται στο επιτηρούμενο μέσο. Τα PTC έχουν συμπεριληφθεί μέσα στη κεφαλή του αισθητήρα και είναι προστατευμένα ενάντια σε εξωτερική μηχανική ζημιά με τη βοήθεια επίπεδων μεταλλικών πλακών.Οι μεταλλικές πλάκες επίσης προσφέρουν μια καλή θερμική επαφή με το μέσο.

ΤΕΧΝΙΚΑ ΧΑΡΑΚΤΗΡΙΣΤΙΚΑ
Τάση λειτουργίας: 24V DC (μοντέλο 5101)
80-250V AC (μοντέλο 5101)
Έξοδος: Ρελέ εξόδου, Κανονικά Ανοικτή (ρελέ ανοιχτό με παρουσία ροής)
Μέση θερμοκρασία: -10 - +50 C
Περιοχή Ρύθμισης (cm/s): 100 - 100m/s
Απεικόνιση λειτουργίας: 2 LED (1 κόκκινο και 1 πράσινο)
Χρόνος απόκρισης (s): 3 - 60s
Βαθμός Προστασίας : IP65
Περίβλημα σώματος και κεφαλής αισθητήρα: POCAN
Σύνδεση: 2m PUR 4*0.5mm2
Αντοχή σε πίεση (bar): 1
Διαστάσεις: 140*23mm

ΠΛΗΡΟΦΟΡΙΕΣ ΠΑΡΑΓΓΕΛΙΑΣ

0630-5101 Μοντέλο 5101: 24 DC V, εύρος ρύθμισης 100 ... 1000 cm / s, σήμα μεταγωγής
0630-0101 Μοντέλο 0101: 80 ... 250 AC / 90 ... 250 DC V, Εύρος ρύθμισης 100 ... 1000 cm / s, σήμα μεταγωγής

ΜΟΝΤΕΛΟ ΑΝΑΛΟΓΙΚΗΣ ΕΞΟΔΟΥ
Τάση λειτουργίας: 24V DC + 10%
Έξοδος: 0 - 10V αναλογική
Θερμοκρασία μέσου: 35 – 65 C
Περιοχή ροής (cm/s): 200 – 2000 (1-10V)
Απεικόνιση λειτουργίας: 1 πράσινο LED
Καθυστέρηση λειτουργίας: (s) 90s
Βαθμός προστασίας: IP65
Περίβλημα σώματος και κεφαλής αισθητήρα: POCAN
Σύνδεση: Καλώδιο και συνδετικό υλικό βύσμα / 2m 4*0.5 mm2 Αντοχή σε πίεση (bar): 1
Διαστάσεις: 140*23mm

ΠΛΗΡΟΦΟΡΙΕΣ ΠΑΡΑΓΓΕΛΙΑΣ
0630-5201 Μοντέλο 5201: 24 DC V, εύρος ροής 200 ... 2000 cm / s, αναλογικό σήμα 0-10V

Βασικές Εφαρμογές
• Παρακολούθηση ροής αέρα αεραγωγού εξαερισμού
• Παρακολούθηση ανεμιστήρα
• Ανατροφοδότηση αποσβεστήρα
• Παρακολούθηση φίλτρων
• Βουλωμένα φίλτρα
• Αερομεταφορείς
• Καμπίνες
• Μηχανοστάσια
• Γέφυρα και Χώροι ελέγχου
• Κουζίνα και αίθουσες σίτισης
• Αποθήκες φορτίου
• Χώροι επιβατών

TOP